
I stole the French curve feature and general design from a very expensive commercially available speaker called the NOLA Viper. I think they cost around $9000.
The Nola has a passive crossover network.
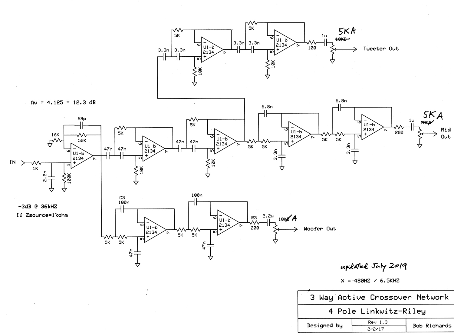
My version is tri-amped with a 24dB/oct Linkwitz-Riley active crossover network, and has active EQ (bypassable) to make the low bass acoustically relatively flat down to 30HZ.

One of the things I've learned over the many decades of building speakers is that, how they interact with listening room acoustics is just as important as anything else in the design.
The way I design a speaker is to first look closely at the environment the speaker will be used in. Not just acoustically, but also how it will integrate into the rest of the furnishings. For me, I appreciate a small footprint on the floor, to fit better in a crowded room. I didn't want them to be more than about 42 inches tall, so theyuldn't seem so dominating. Yet at the same time, I've experimented with this and I've found that the tweeter and mid always work better with the room when they are higher up off the floor. 42 inches seems like a good number for the approximate overall height.

These are the published frequency response graphs, that were allegedly measured in an anechoic chamber.

These days it's not hard to find tweeters that are excellent for as little as $20. If you want to get fancy, a good short ribbon tweeter for around $50 will make cymbals sound slightly more real. If you want a tweeter that performs well down to near 1kHZ, it gets more difficult and pricey, but that's an option too (ScanSpeak, Seas, maybe others). I don't like metal dome tweeters because of the severe resonance they all seem to have just above the human audio spectrum. Dogs and cats would hate them, and some research I heard about back in the 1970's suggested that energy around 25kHZ can make humans less comfortable over time. My favorite tweeters are the Dayton ND20 at $20, the Fountek 1.5 inch ribbon at $50, and the Seas Millenium at about $225. It depends where in frequency you want to cross them over, and how loud you want to run them, and what you're using for a midrange driver. Tweeter frequency wavelengths are relatively short (6 inch (2kHZ) to about a half inch (10kHZ)), and are very directional, so baffles don't usually do significant damage to their acoustic output.
Here's a user comment about the Fountek Ribbon Tweeter:
According to: https://iplacoustics.co.uk/fountek_ribbon_tweeters.htm
" The advantage of the ribbon is that it has 10 times the force to mass ratio that a dome tweeter would have, and so is faster and more detailed. The Fountek are some of the best and most consistent Ribbon tweeters available, having a transparent but not harsh sound quality."
Since I only use them from 7kHZ on up, they make a very good choice.
Similar story with midrange drivers. There are many good ones as low as $12 (Peerless TC9) up to hundreds of dollars (Seas, Scan Speak, etc.). One of the significant issues these days is "resolution", which means how well controlled the diaphragm actually is. Plastic cone drivers usually have smooth frequency responses, but lack the nth degree of clarity due to very slightly compromised resolution or coherance. The softer cone material can be easier to listen to over time. The hard cone drivers have the best resolution, but pretty much always have a severe resonance at a frequency that the human ear is very sensitive at (3-6kHZ typically), and can be less forgiving with poorly mixed program material. Some midrange drivers have a diaphragm that is hard enough to have pretty good resolution, but only a tiny amount of resonance in the upper midrange frequencies.
My personal favorite midrange driver (at this time) is the Peerless TG9 3.5 inch driver (2 inch actual diaphragm), at about $20 per, because It's very close to flat from 150HZ - 15kHZ, with only a slight bump around 10kHZ (if you can believe the several different published graphs I've seen). It has a glass fiber cone. The TC9 version is almost identical, but has a treated paper cone, and the bump at 10kHZ is a bit larger (a few dB). Scan Speak makes a very similar but maybe more robust midrange (The 10F/8424G) that measures almost identically to the TG9, for I think less than $100. Seas has a 4 inch driver that Linkwitz used in his highest end system which costs about $100 too. Probably a bit more robust than the TG9, and worth considering. These TG9's are great if you want to go from about 300HZ on up to a relatively high frequency (7kHZ), before crossing over into the tweeter. And if you want to keep crossovers frequencies out of the region of frequency where the human ear is most sensitive (800HZ - 6kHZ) (see Fletcher-Munson graph), not only for FR but also imaging accuracy and consistency over frequency.
Since Interaural Crosstalk blurrs stereo imaging below about 1kHZ, it's the frequencies above that which are responsible for the majority of the imaging magic. Especially the range of 1kHZ - 6kHZ, in my opinion. If you wanted the midrange driver to go down to 100HZ, you'd need more cone surface area, and for that I'd go with at least two 5 inch drivers. If you're only taking the driver down to 300HZ - 500HZ, and don't plan to run it screaming loud, a smaller driver diaphram means more even off-axis frequency response. The only real downside of the TG9 driver (and most other 3 inch drivers) is it's efficiency(about 85dB 1W/1Meter). If you were going to have a passive crossover network, you'd need to resistively attenuate the woofer(s), which amounts to a sunstantial power loss, and looser damping on the woofer cones. It's all about tradeoffs and personal preferences. You can't tell from the photo, but the TG9 driver has a very well ventilated spider as well.
I wanted to say that if I had it to do over again, I might use two of these TG9 drivers, one directly above the other, and drop the crossover frequency to 300HZ, but having two driver going above 2-4kHZ would be bad because of the size of the wavelengths involved (roughly 3 inches at 3kHZ to close to an inch at 6.8kHZ). Vertical off axis comb filtering would become an issue and could deteriorate the stereo imaging effects, depending on the shape of the listening room.
It would at least "color" the upper mid frequencies where the human ear is most sensitive... (off axis reflections vertically would be comb filtered). Maybe not a big deal but not my choice at this time..
In this system, I'm baffling the midrange driver with a sub-enclosure made of lossy 1/4 inch thick wool felt material, So some of the energy in the 400HZ - 4kHZ region will emit out the back side of this sub-enclosure, for an enhanced effect, if everything works out.
I've both read and found out the hard way that rear emissions that are delayed, from the point of view of the listener on the couch, by less than 6mS don't make a positive enjoyable difference. The rear emission reflected sound must not get to the listeners ear for at least 6mS, relative to the direct sound. To deal with this I put a ramp reflector behind the midrange wool felt enclosure, to waveguide this energy upward at a strategic angle, with the idea that it would bounce off the front wall (behind the speaker) at an angle, then bounce again off the ceiling at an angle, and only then come to the listener on the couch. I admit it seems sloppy, and room shape dependant. But it didn't do any noticable damage, and actually seems to create a slight enhancment to the midrange frequencies. Just enough for a touch of "otherworldly" imaging effect.
I have no problem at all with how this system produces the upper mid frequencies. They sound spectacular to my ear.


This graph above shows how the average human ear sensitivity varies with both frequency and loudness level. When the loudness level is low, we percieve a lot less of the low bass and high treble.
At lower levels 3-4kHZ becomes dominant, and those frequencies are difficult to listen to over time.
If you are playing the music at roughly 75dB (what I'd call normal listening level), the graph above whows that the bass is effectively turned down by roughly 8dB at 80HZ, and 15dB at 40HZ, relative to 1kHZ, due to how the human ear-brain mechanism works...
That's kind of a lot IMO. Hence the 4 section Baxandhall Tone control circuit in my preamp. Anyone who thinks good tone controls are bad, is a fool in my opinion. This is why.
I use my preamp tone controls AND the active EQ circuit I have in my active crossover circuit to deal with this reality. In addition to this, every listening room will have it's own effects on the perceived frequency response at the listening couch as well.
I used to think that putting a woofer in a closed box near a wall, and actively equalizing it to be acoustically flat down to 30HZ is about as good as it gets. Although that can be very good, I think it's even better to keep woofers further from room boundaries, so the acoustic reactance of the room will be slightly less. There's no shortage of test results that show that room acoustics substantially damage the acoustic frequency response of even the best speakers out there ("comb filter" cancellations of 10 to15dB are common, all across the frequency spectrum, at the couch - usually mostly below 1kHZ). Below about 400HZ, room acoustics reflections and resonances are often a big issue because the half-wavelenths of the acoustic energy fit between parallel surfaces or opposite corners that often exist in a typical living room. Below about 200HZ, same story and is why bass often sounds boomy and unpleasant. The smaller the room the more the listening room acoustics do damage, because acoustic energy dies off logarithmically with distance, twice the distance means approximately 1/4 the energy (if from a point source - so this is only largely true). Hence the skinny woofer tower. I'm even adding a switch that will turn off the lower two drivers, of the four, to further this concept (as an experiment). At low listening levels I might prefer that.

Another issue with woofers is resolution. Large cone woofers can sound great, but small cone woofers have always sounded cleaner to my ear. We test woofers with sinewaves, or sinewave bursts in gaussian envelops (if we're really sharp), but music is complex, with many different things happening at once. Woofers seem to benefit from having a faster response than theory might suggest they need. Hard cone woofers sound cleaner to my ear, especially when there are more than one note being played at the same time by the bass instrument. Like with the midrange drivers, hard cone woofers always have a severe resonance or cone breakup right at a frequency the ear is most sensitive to (1kHZ - 6kHZ), so that can be an issue. The woofers I'm using don't have the hardest cones out there, but they're not real soft either (Peerless 6.5 inch Nomex/paper cones at $50 each), but have a very nice venting of the spider, a good Xmax, and only a minor cone breakup issue in the upper midrange (somewhere around 3-4kHZ). When using a hard cone driver, a steep cutoff rate is a real nice thing. You want that 3-4kHZ "breakup" resonance to be substantially attenuated electronically. I really love that this woofer tower will have a very small footprint too.
Passive crossover networks are more practical for most people. One stereo power amp, one speaker cable, no stack of poweramps under an "active" crossover network chassis. Passive crossover networks are difficult to design and calibrate because the "nominal" impedance of the drivers is rarely what you'll have at the frequency you want to cross them over at. A five inch driver with a nominal impedance of 8 ohms may have an actual impedance of 15 ohms at the frequency you wanted to cross it over at (roughly 2kHZ for ex.). Plus, many of the parts in a passive crossover are interactive, so every time you change one part value, it can throw off how the other parts do their job. With an active crossover network, the results are exactly what you designed for, rolloff rates can be very good, and individual amplitudes can be varied with no interactivity side effects at all.
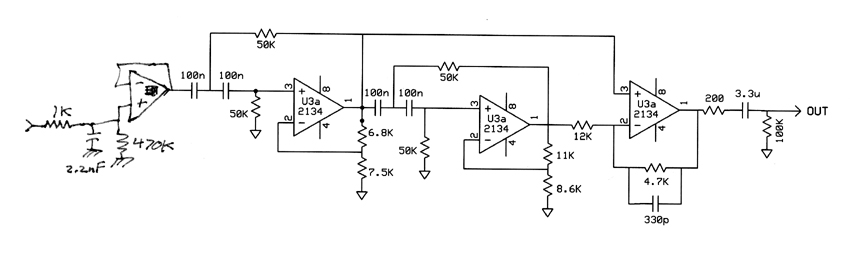
Above is the crossover circuit. Putting pots at the outputs is risky (would enable high frequency rolloff if cables were long), but fewer opamps is usually a good thing (less hiss noise - although this is not a problem at all in this system). Because the dynamic range of the circuit with +/- 15VDC power supply is WAY bigger than the needed signal size (to overdrive any poweramp), I put a gain of 12dB in front of it, and reduced the outputs with the individual level controls, thereby pushing the noise floor of this circuit down significantly. There's also a passive Rf filter at the input, to reduce any supersonic noise coming from anything (digital audio source?), which could cause slewing related distortions.
There are several methods of getting good low bass out of a given woofer driver. Ports, passive radiators, "transmission Lines", open or closed boxes, and who knows what else. Ported enclosures have poor physical damping of the woofer diaphragm on either side of the tuned resonant frequency (often around 50ish HZ), and are said to be difficult to get right. Similar story with passive radiators, which I've had pretty good luck with. Transmission lines often weigh several hundred pounds, and also have the variable mechanical/acoustic damping issue over frequency, like the ported approach. The open-baffle approach that Linkwitz prefers can be good in a much larger room than I have, but also require very substantial active EQ, and drivers with very large Xmax specs. Very powerful power amps as well. The closed box with active EQ is my personal favorite for Hi-Fi speakers. Properly designed, the acoustic damping effect of the "air-spring" on the diaphragm inside of the box is relatively consistent over frequency, so tighter and cleaner bass. The low end rolloff can be easily fixed with active EQ, so the acoustic output will be flat all the way down to where ever you want it to be (whatever the particular woofer can handle). Closed box EQ is usually about 10 - 20dB of boost, ramping up the FR below about 100HZ, peaking at 32HZ (in my case), and then having a 12dB/octave rolloff below that.
I choose to partially compensate for this low end rolloff, rather than fully compensate, due to the fact that most music that has energy below about 40HZ, is usually mixed to have more amplitude below that, to compensate for what most speakers on the market are like; most commercial speakers roll off below about 50HZ. My M&K subwoofer had about 20dB of peak gain at about 25HZ. After much experimenting I chose to set the peak gain for this system at 10dB, which is technically maybe not enough, but my experience is that it works better with most recordings. Due to typical listening room acoustics, the low frequencies are riddled with variables, and too much low bass can be not at all desirable. A good 4 section Baxandall tone control circuit is a very wise choice, for getting things further optimized.
One of the reasons the sharper cutoff rates (24dB/oct.) are better than the 6-12dB/oct. that is much more typical of passive crossover networks (not just power handling), is that analog filters cause phase shift, and with a shallow cutoff rate, you'll have two drivers puting out the same output over a wider range of frequencies, with a timing differential created by this analog phase shift. This can cause comb filter effects. Not a huge thing but significant. It's especially important IMO in the upper midrange frequencies where most of the stereo effects happen (since interaural crosstalk blurrs the imaging effects below about 1kHZ). To get the best sense of being transported, you want 1kHZ to 6kHZ to be minimally tainted and maximally matched left and right.
A passive crossover would probably work reasonably well with this system, because none of the drivers are being electronically crossed over near where they mechanically rolloff. BUT, the 3 inch midrange driver is several dB less efficient than the woofers, so you'd have to reduce the efficiency of the woofers with power resistors to have a reasonably flat frequency response, which would throw away more than half the power, and reduce the tightness of control (damping effect) on the woofers, by the power amps. So bi-amping at 480HZ would make more sense if tri-amping is too much. If I had no choice but to go with a passive crossover, I might use a different midrange driver that is more efficient, at the likely expense of off axis response (cuz it would be bigger). Off axis response horizontally is very important if you want the best of stereo effect imaging outside of a "sweet spot" listening position.
Another issue worth mentioning here is power amp turn-on and turn-off transients. When using an active crossover, the poweramps are hooked directly to the individual drivers. Turn-on and turn-off transients created by the poweramps can damage the more delicate drivers. Nobody talks about this, and it's a BIG deal IMO, especially with tweeters.
One of my main goals in this system was to have no crossover frequency between about 800HZ and 6kHZ, because that's the frequency band that has the best potential for creating really good stereo effects (below about 1kHZ inter-aural crosstalk blurs imaging cues), and stereo imaging accuracy is hugely dependent on the degree to which both speakers have the same acoustic output at the listening chair, over frequency. Room acoustics are likely to screw this up anyway, but having a crossover happen in that frequency range is likely to make it worse. The 3 inch Peerless TG9 midrange driver gives me the ability to do this well. Bigger drivers usually have some kind of FR problem around 3-6kHZ, and smaller drivers usually have excessive distortion issues if you try to take them down below about 300HZ. To be able to reproduce 480HZ to 7kHZ cleanly and with a relatively flat frequency response is great.
Most typical tweeters are usable down to about 3kHZ, before distortion gets questionable. Crossing them over at 7kHZ means I can use pretty much any tweeter out there. Ribbon tweeters are more delicate than most others, so distortion can go up faster if you're trying to use them down to 2-3kHZ. Since I only ask this one to do 7kHZ and above in this system, it should be second to none. By limiting the woofers to below 480HZ, the slight resonance they have around 4kHZ will have no effect on anything. It will be electronically VERY attenuated.
The woofers each have their own closed box internally, part so none of the half wavelengths they will be producing will fit inside these cavities, so minimal resonance potential, and part because those internal shelves provide very important bracing of the 3/4 inch MDF cabinet material. Radiation from the cabinet may seem very minimal, but the cabinet has way more surface area than the woofer diaphragms, so can actually be pretty significant. The internal dimension ratio for each woofer cavity are the numbers recommended by Roger Russel (formerly of McIntosh), which is 1:1.25:1.6 . This ratio minimizes the degree to which harmonics of resonances double up, creating a more significant resonance. Again, this shouldn't even be an issue since none of the half wavelenths fit inside the very well damped internal cavities.
The tweeter baffle front board (Vermilion colored wood) tilts back by 5 degrees, so it doesn't look like it's about to fall off the woofer, and because of the slightly narrow vertical off axis response of the ribbon tweeter, which is 1.5 inches tall. I thought this might work better in my listening room. I doubt if the tilt is necessary, but I did it anyway.
There's also a piece of 3/8 inch thick wool felt between the woofer cabinet and the separate mid/tweeter baffle, to minimize any potential squeaks if the woofer cabinet vibrated too much at high levels.
The inside of the woofer cabinet has several layers of acoustic damping materials glued in place tight to the surfaces, to minimize any potential resonances, and to reduce cabinet radiation of said resonance's. There's 3/8 inch thick wool felt, then foam rubber, then more. Foam rubber works great at higher frequencies, but doesn't have the mass to be very effective at the lower frequencies, unless it's glued tightly to the inside surfaces of the enclosure. The wool felt is probably more effective due to it's higher mass, but working together in layers seems better. The idea is to dissipate all the internal acoustic energy, so it won't bounce around and re-emerge through the diaphragms with the various resonant qualities. Cabinet radiation is usually arguably small, but because of the large surface area of the cabinet, it's considered significant.

