By Bob Richards EET, 2016

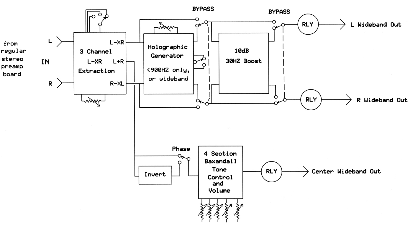
An actively buffered, passive L-XR/R-XL stereo matrix circuit, works against the L+R function, to separate a stereo feed into Left, Center and Right signals, in arguably the best way for most program material. Since the X factor of the L-XR function is continuously adjustable, you can get the maximum amount of perceived separation with a given set of real world variables. There are also bandwidth limit options for this function, largely based on research done by David Griesinger, formerly of Lexicon. Other options include holographic imaging (inter-aural cancellation) for the L and R outputs (which also has a BW limit option), and a low bass boost function on the L and R outputs (+10dB at 32HZ with a fast rolloff below that). The center channel output has a 4 section Baxandall tone control circuit, volume and phase reverse option. A second set of outputs can be used for additional external options (another L+R subwoofer, a digital processor for side and/or rear speakers, a cross-coupled 4 speaker setup, etc.).
Many people these days have a large screen HD TV integrated into their Hi-Fi system. Many music DVD's and movies are encoded for multi-channel surround sound as an option, but then you need to have 5 or 7 speakers in some variation of a circle in your living room. If you have a dedicated theater room in your house you might want that. According to the guy at the local Hi-Fi shop, multi-channel "surround sound" came and went as a trend for most people. There's the hassle of all the speaker wires and where to put the speakers. There's the wife acceptance factor (WAF). There's all the confusing decoder options and standards most AV Receivers have. I should never have to go get the manual to figure out how to change anything. And then there's the commercials on TV and Radio which usually come on louder than the program content. Being fully surrounded by speakers makes this worse. This unit has several alternate options for the tinkerer (the switches), but is relatively very simple to use. There are no menus, just knobs and switches.
Well some of us just want to have a little more. The "phantom center image" with just two speakers is often a bit "phasey" or "muffled" sounding because of the size of the upper frequency wavelengths. Each ear will get a different comb filter effect from the two signals arriving at slightly different times. With a TV screen in the middle, you might want dialog to seem to come from the picture even when you're significantly off axis. A "phantom center image" with only 2 speakers works fairly well if you're sitting right in the middle, but not so much off axis. The main part of the presentation (lead singer?) is usually panned to the middle, so you might not really want that to be compromised in any way.
With this unit, the sense of separation between the 3 channels is enough to create a significantly more enchanting listening experience, but it's not "actively" steered. The extraction is done with a stereo L-XR matrix function, working against the L+R function. Each of these functions contributes to the extraction/separation process in its own way. The lack of total (actively steered) seperation between the 3 outputs actually works more constructively with typical listening room acoustics. This circuit is more optimized for music, but also works very well with all TV program content and DVD's.
Active steering is where the gain of each output is actively amplitude modulated by various math functions, using level detectors and VCA's (voltage controlled amplifiers), based on an analysis of the stereo signal phase relationships and amplitude differentials. Actively steered surround sound decoders give significantly better separation between the signals going to each speaker, and may be more fun for movies that are optimized for that, but active steering on other program material can be thrown off by odd recording techniques and/or other signal processing done at the recording end. This can cause levels to shift in strange ways at times. The mono signal you get with dialog while watching the news, an old movie from the pre-stereo era, or an old jazz recording from the pre-stereo era, will only come out of the center speaker if you have active steering. The center speaker is often a smaller speaker (maybe a "speaker bar") that may not have nearly as much lower mid and bass energy as the main L and R speakers. It also gets less help from the rest of the speakers to even out room acoustics comb-filter effects (complex periodic cancellations across most of the spectrum due to room reflections). The sound can be "small and thin", sound too confined, and dialog is often difficult to understand.
One way to even these things out is to let the center image (L+R signal) also come out of the L and R speakers with significantly reduced amplitude. This circuit allows that, and the extent is continuously adjustable. Then singing and dialog isn't so buried in the overall sound on or off axis, and room acoustics reflection issues will be evened out better at any listening location.
The way this works is as follows. The L+R function completely cancels anything that is L-R or R-L, and will give a 3dB boost to anything that is L+R (panned to center), relative to signals in the stereo feed that have random phase relationships. The L-XR function works against that with it's ability to largely cancel the L+R content of the program material, while still maintaining the stereo effect. How large this cancellation will be is a function of the continuously variable X factor pot (VR1) (called "L-XR" on the front panel). I haven't measured this on the bench but I would guess the L-XR circuit can cancel the L+R content by about 6dB before the stereo effect collapses from too much L and R reverse phase crosstalk (too much X factor). 3dB + 6dB = 9dB of total potential separation. I say "potential" because real world stereo program material is full of variables, depending on how the recording was made and mixed. So the numbers are approximate. But that's arguably enough, AND letting there be some crosstalk between the 3 speakers actually works better for typical listening room acoustics issues, because the comb filter cancellations from room reflections will get filled in better by reflections created by the additional physically displaced speakers, all of which will have their comb filter cancellations at different frequencies, due to their different room reflection time delays.
All other stereo matrix circuits I've seen have left out the adjustment for the X factor of the L-XR (and R-XL) (VR1). They seem to set it for 0.5 and call it good. My experience is that you can adjust it for more separation than that, before it gets to a point of perceptually collapsing the stereo effect. Another difference between this circuit and others I've seen is that I include BW limit options for the L-XR function, based on the work of David Griesinger, which some may appreciate. There could be cases where upper-midrange imaging might be better if the bandwidth limit is engaged.

Notice the passive Rf filter at the input. These OPA2134 opamps work very well if you don't ask them to do something they can't do well. Digital sources can spew significant Rf energy, which very few audio amplifier circuits of any kind can handle elegantly. Any asymetry at Rf frequencies will cause intermodualation distortion products to be generated. Some of those will cause noise in the audio frequency range, and others will cause further slewing related distortion products.
Because of how listening room acoustic reflections cause comb-filter effect damage to the frequency response by the time the sound gets to your ears (often very significant), letting the center channel sound also come out the L and R speakers to some degree, actually improves what you hear anywhere you sit. More room reflections (from more speakers being active) means more of the cancellations caused by the reflections will get filled in better, since all the random reflection comb-filter mechanisms have their cancellations at different frequencies. You'll perceive a smoother overall frequency response at your chair and anywhere else in the room. That lead singer or news commentator will sound more natural and be significantly easier to understand compared to an actively steered extraction process.
In addition to the 3 channel synthesis, another option this processor offers is my version of a "Holographic Generator" type circuit, which cleans up stereo effect imaging, and expands the width of the apparent soundstage to beyond the L and R speakers when set up correctly.
What this circuit tries to correct (cancel) is what's called "inter-aural crosstalk", where the signal coming from the left speaker is also heard by the right ear, and vice versa. In a true "binaural" stereo recording, this inter-aural crosstalk should happen only once during the recording process. If it happens again in the playback environment with different timings (and they will be different), our ear-brain mechanism gets confused and can't sense the image location nearly as well. "inter-aural crosstalk" is especially an issue in the lower midrange frequencies, where we sense image location primarily by timing (phase) comparisons, rather than amplitude comparisons. Above about 1kHZ, we sense stereo image location by amplitude comparisons only, rather than by timing or phase comparisons. With todays "synthetic stereo" recording techniques, where digital signal processing places images across the sound stage, rather than a true "binaural" stereo mic doing that function, this processor still works great. Often even better (more dramatic). Conventional mixing boards of the past only have amplitude panning functions. Some of todays mixing software, and perhaps some physical mixing boards, have the much more sophisticated panning, which includes the real-world lower midrange timing differentials.
The problem with the original Bob Carver Holographic Generator (or the Polk acoustic hologram speakers) is not just that you have to sit in the exact center between the L and R speakers (forming an elongated triangle) for its effect to work (and be at least several feet away from any reflective side walls), but even then the center image is weak or "phasey" sounding. With this processor you have an actual center speaker, which does a superb job of fixing that issue. Finally, the Holographic Generator function can really shine. Although you do still have to sit exactly centered between the speakers (elongated triangle) for it to work. This is for the person who is obsessed about wanting the speakers to disappear and the alternate environment to dominate. To feel that the band in right there in your room. On certain recordings, it can be quite nice.
For the person who doesn't mind arranging things so sitting in the correct position (the exact center, give or take an inch) is not a problem, the hologram circuit works quite well. The apparent sound stage will extend beyond the L and R speakers, and there will be more sense of space between the various sounds. This version of the Hologram circuit not only generates the cancellation signals that largely cancel inter-aural crosstalk, but the correction signal itself is also corrected with recursive cross-coupled feedback (the Carver version didn't have that - probably a very minor difference). For the Hologram effect to work well, the L and R speakers need to be at least several feet away from any side walls. If it doesn't work well in a given situation, there is a bypass switch for this function.

The reason I put the 30HZ 10dB boost in the L and R speaker path only, is because many center channel speakers may not be able to handle this boost. Many center channel speakers ("soundbars") may only have 5 inch woofers. Also because if you add an additional woofer to the extra center output, most active woofers already have the low end EQ.
Now the whole entertainment system can be put along one wall, which dramatically improves the WAF (wife acceptance factor). Put it along the long wall in a rectangular room to get the best out of the hologram function (so side walls are further away from the L & R speakers).
This processor is designed to go between the preamp and the poweramps or active crossover networks. Since center channel speakers don't usually have as much low frequency response as the usually larger L and R main speakers, and may well have other frequency response variations, largely due to room acoustics and/or baffle step response issues, I've included a 4 section Baxandall tone control circuit, a volume control and phase switch for the center channel output, so a better tonal balance can be obtained. You should already have a good set of tone controls in your upstream preamp or AV receiver, which will affect the tone of all three speakers. The phase switch is in case your center channel poweramp inverts the signal relative to the L and R power amps (not likely an issue but it's important to get this right). There's also a second center channel output in case you want to drive an additional, actively filtered and EQ'd subwoofer. This is a very good idea for combatting "boominess" (un-even lower-mid and bass frequency response) due to room acoustics - especially if the additional woofer can be located behind the listening area, or at least distant from the L and R woofers.
When you have guests over, or for any reason you aren't sitting in the exact center, the Hologram function will make the stereo effect significantly less clear off axis (why many people hate it). A ladyfriend described it as more mono sounding. To reduce that issue, there is a BW limit option for the hologram effect, which makes it significantly less picky about where you are seated. Or you might want to bypass it entirely. Even when you sit in the exact center, some people might prefer the bandwidth limited version (theoretically possibly more correct, but less dramatic). The hologram effect will be less apparent when the BW limit is engaged, but off axis locations will get a significantly better stereo effect.
I also included an optional low bass boost function. It's a circuit that ramps up the low frequency response below 100HZ, with a 10dB peak at about 32HZ, and then a fast rolloff below that. It does nothing above about 100HZ (see graph below). This works in conjunction with tone controls in your preamp or AV receiver to make most closed box speakers have much better low bass. Most closed box woofers roll off below 50 - 80HZ, and this undoes that. If you are using actively filtered subwoofers for the L & R speakers that already have similar active EQ built in, you'll probably want to bypass this circuit.
If you are using ported bass-reflex woofers, there could be an issue. Ported box woofers have poor mechanical damping of the speaker driver cone at the lowest frequencies (below the frequency the port is tuned to). Those woofers are more likely to get damaged at high volume levels.

There are a total of seventeen OPA2134 dual op-amps in this box. With all functions enabled, there would be 14 op-amps in the path of the R & L speakers, and 4 opamps in the path of the center speaker. The extractor circuit alone puts four opamps in the signal path for the L & R speakers and only one or two for the center speaker. There are those who don't want to run their music through any more circuitry than they have to, because they want the purest sound possible. I respect that to a point. There are many examples of preamps, active crossovers, tone controls, EQ circuits, surround sound decoders, various digital processors, etc., where the design was poor and the circuit did indeed damage the sound significantly. I believe this circuit has none of those problems to any significant degree. Furthermore, most program content has already been run through assorted processing equipment on the recording end, which may not have been as well designed as this circuit is. When you consider the shortcomings of recording techniques and recording end processing, you realize that whatever makes your sound more enjoyable is valid. Each function in this processor is independently bypassable, so you only engage what you want.
This is important for first time use. After that you will rarely need to adjust anything.
With a good stereo program source playing, a good starting place is to center the tone controls and the L-XR function knob, Set the L-XR BW limit to WB (wideband), bypass the Hologram function and the 30HZ Bass Boost, turn down the center speaker volume all the way, and then optimize the position of the L-XR knob for what gives the best sense of separation of sounds between the L & R speakers. Listen closely to the stereo effect when adjusting the L-XR knob. As you increase the L-XR function (turning the knob clockwise), the mono or center "phantom" content will go down in amplitude, relative to the sounds on the left and right. If you turn it up too much, the stereo effect will collapse. Find the "point of no return", and then back off the L-XR knob just slightly, to accomodate variations in program content and listening positions.
Once you get that optimized, turn up the volume on the center speaker for proper balance. Try switching the C-phase switch to see what happens to the center sound. The louder and/or better centered sound is probably the right position. Try the 3 different options for bandwidth limit of the L-XR function to see if you prefer one over the others. Personally I like the effect of WB (wideband) which creates a more dramatic effect. Purists may want to limit the L-XR function to only the lower frequencies (theoretically maybe more correct but less dramatic). These options are based on papers written by David Griesinger EE, formerly of Lexicon, who has done quite a bit of research on surround sound and anything related to it.
Then play with the tone controls until you like the balance of sound between the center speaker and the L and R speakers. These tone controls are designed so you can create a very good approximation of a reverse "Fletcher-Munson" curve (Loudness Compensation), which gives a much more balanced sound at the lower levels (due to how our ear-brain mechanism works), but what you really want is a pretty good match to the tone of the L and R speakers.
Then, at moderate levels, try the 30HZ Boost function. At first it may seem to make the bass too boomy. With it engaged; re-adjust the tone controls on your preamp to see if you can get a better tonal balance. It's fairly common for many speakers to roll off below about 50-80HZ. More often than not, this boost will be a huge improvement. Personally, I always have this engaged. Low bass takes the sound to a whole different level, not only for low bass notes and drums, but also for the higher frequency waveform envelops of real world music. These envelops contain significant energy that goes way down in frequency. Speakers vary so much when it comes to low frequency performance, and can be affected so much by room acoustics; you want to just set it for best sound by ear.
Then when everything is optimized for a given system and room acoustics situation, engage the Hologram function. If the L and R speakers are about 7 feet apart, sit in the exact center about 7-10 feet back. If they're closer together or further apart, scale the numbers. With the H-BW switch set for WB (wideband), you should be hearing sounds coming from beyond the boundary of the L and R speakers (unless sidewall reflections screw it up, or the program content doesn't really bring it to life much). The best program material for doing this is when there are sounds that are left only and right only (early Beatles albums comes to mind). Those sounds will be widened the most. Try moving closer and further from the speakers on the Z axis to find the best distance. This can vary from recording to recording to some extent. Then try switching the H-BW to the 1KHz position to hear its effect. There should still be an improved spaciousness and better imaging, but higher frequency content won't be pushed beyond the boundaries of the L & R speakers as much, if at all. This is arguably theoretically more correct, but less dramatic.
Off axis (not in the exact center), the Hologram function reduces the apparent stereo effect significantly (why many people hate it). The H-BW (hologram bandwidth) limit function will largely fix that issue, but the Hologram effect will be less dramatic. The H-BW switch limits the Hologram function to frequencies below 900HZ. Purists may prefer this mode of operation (arguably more theoretically correct). If you're alone sipping a good Beer, a German Auslese or a Brandy, you may want everything set for maximum effect at the optimized listening position ("sweet spot"). If you have guests over, or will be sitting outside of the sweet spot for any reason, you may want to dis-engage the Hologram function altogether, or at least engage its H-BW function. The Hologram function really only improves things when you are seated exactly in the middle, as described above.
Since adding a center L+R speaker will reduce the sense of stereo effect some, I adjust the volume of the center speaker to be just loud enough to solidify the phantom center image, but no more. With different types of program source material, you may want to fine tune this or that, but you're basically there.
Time to enjoy…
Once you complete the above optimization adjustments, you shouldn't need to mess with it much ever, other than turning on or off the Hologram function depending on where the listener is. Again, the Hologram is only a plus if the listener forms a slightly elongated triangle with the speakers, and is exactly centered between them left to right. Otherwise it makes things worse (it all sounds more mono). It's the frosting on the cake for the most discriminating listeners who want the maximum magic in the listening experience. The typical listener may never use it.
Of all the variations of "surround-sound", this is the one I personally like the best. It creates an amazing soundstage when the program content is well done. A solo artist in the middle will have a better sense of acoustic space, more separate from the wide stereo backdrop of sound.
Having said that, there may be times when you want side and/or rear speakers (perhaps for classical or ambient music). Using the second set of L & R outpupts, you can send the L & R outputs to a stereo digital delay and/or reverb which would drive another preamp and poweramp for side and/or rear speakers.
This might be a plus if the side and/or rear speakers have a good place to be, and work well with room acoustics.
How to optimize stereo rear channels is a project by itself. Many people have done quite a bit of research on this, and the outcome is still a bit vague. There are many variables and limitations you have to work with (room acoustics, program material, etc.). Front speakers should be aimed straight at the sweet spot, while rear speakers are better off being aimed up, or away somehow, such that they deliver a more diffuse sound to the listener. My room is too shallow (front to back) for rear speakers to work well, so I added side speakers up at the ceiling, aimed across at each other. I use a Lexicon MX400 digital reverb unit driving a preamp and poweramp for these speakers, but rarely turn them on. It will work best if you can roll off the high frequencies on the side and/or rear speakers some, and set the volume such that you can't even tell they are on, until you turn them off. The most important frequency range for rear speakers (or ambient speakers in general) is roughly 80HZ - 1kHZ. Above that they can be distractive unless they're rolled off (less treble). If you're listening to conventional radio or TV program material, you very probably don't want any additional reverb.
Any time you want to revert back to regular unprocessed stereo, bypass the Hologram, turn the L-XR knob fully CCW, turn down the center volume knob, and you're there. Now you only have the 30HZ boost, which is also bypassable.
My goal was to design a 2 > 3 channel analog "Extractor" that would give the best overall improvement of sound, be flexible enough to work well with any playback system and program material type, and is also very easy for anyone to use.
This is arguably the best way to turn a 2 channel feed into a 3 speaker presentation.






